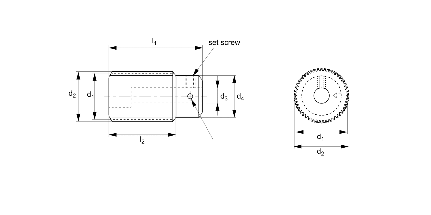
Worms
1,5 module
| Units | Price/unit after discount | Applied Discount |
| 1+ | - |
Stainless steel (DIN 1,4305).
Quality class DIN 7/AGMA 10.
Right hand.
Company registration no: 00496138
Company VAT number GB 408154022
Alexia House, Glenmore Business Park
PO19 7BJ Chichester
United Kingdom
0333 207 4498
sales@automotioncomponents.co.uk























































































