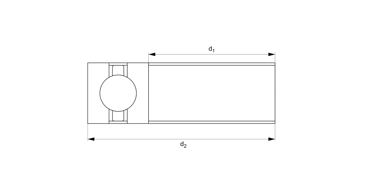
Split bearing
slim
| Units | Price/unit after discount | Applied Discount |
| 1+ | - |
Corrosion resistant split bearing rings.
Ball bearings retained in plastic cage.
Our split bearings are compatable with most other manufacturers and are very cost competitive. Please ask us to 'cross reference' if required.
Company registration no: 00496138
Company VAT number GB 408154022
Alexia House, Glenmore Business Park
PO19 7BJ Chichester
United Kingdom
0333 207 4498
sales@automotioncomponents.co.uk























































































